|
|
工作原理/working principle-----------------------------------------------------------◆◆ |
|
隔爆热电阻和装配式热电阻的结构,原理基本相同,所区别的是隔爆型产品的接线盒(外壳)在设计上采用防爆特殊的结构,接线盒用高强度铝合金压铸而成,并具有足够的内部空间、壁厚和机械强度、橡胶密封圈的热稳定性符合国家防爆标准,所以,当接线盒内部的爆炸性混合气体发生爆炸时,其内压不会破坏接线盒,而由此产生的热能不能向外扩散、传爆。 |
|
由于产品采用上述防爆特殊结构,使产品完全符合使用在dⅡBT4或dⅡCT6防爆温度级别区间范围内,只要用户严格遵守产品使用规则,产品就能达到可靠的防爆效果。 |
产品特点/Product features-----------------------------------------------------------◆◆ |
|
工业用隔爆热电阻是一种温度传感器。在工业自控系统中应用极广,通过温度传感器,可将控制对象的温度参数变成电信号,传递给显示、记录和调节仪表,对系统实行检测、调节和控制。 |
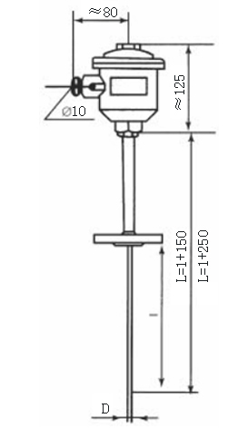
产品结构/Product structure----------------------------------------------------------◆◆ |
|
隔爆热电阻和装配式热电阻的结构,原理基本相同,所区别的是隔爆型产品的接线盒(外壳)在设计上采用防爆特殊的结构,接线盒用高强度铝合金压铸而成,并具有足够的内部空间、壁厚和机械强度、橡胶密封圈的热稳定性符合国家防爆标准。 |
|
|
|
隔爆式热电阻主要由接线盒、保护管、接线端子、绝缘套管和感温元件组成基本结构,并配以各种安装固定装置组成。 |

|
技术指标/Technical indicators--------------------------------------------------------◆◆ |
|
★温度测量范围和允许误差 |
|
型号 |
分度号 |
测温范围℃ |
精度等级 |
允许偏差△t℃ |
WZP
WZP2
WZPK
WZPK2 |
Pt100 |
-200~500 |
A级 |
±<650℃
±(0.15+0.002∣t∣) | |
B级 |
-200~800℃时允差±(0.30+0.005∣t∣) |
|
|
注:“t”为感温元件实测温度为******值,双支铂电阻只供应B级。 | |
|
“*”A级为特殊订货 |
|
|
|
|
★公称压力 |
|
一般是指在常温下,保护管所能承受的静态外压而不破裂,试验压力一般采用公称压力的1.5倍。实际上允许公称压力不仅与保护管材料、直径、壁厚有关,而且还与其结构形式、安装方法、置入深度以及被测介质的流速、种类有关。 |
|
|
|
★热电阻绝缘电阻 |
|
常温绝缘电阻的试验电压可取直流10~100V任意值,环境温度应在15~35℃范围内,相对温度应不大于80%。常温绝缘电阻值应不小于100MΩ。 |
|
|
|
★热电阻允许通过电流 |
|
通过铂电阻的测量电流******不超过5mA |
|
|
|
★防爆类型和级组 |
|
防爆级组:dⅡBT4或dⅡCT4;dⅡBT6或dⅡCT6 |
|
外壳防护等级:IP54 |
|
|
|
★隔爆型热电阻的防爆标志表示方法 |
 |
|
|
|
★电气设备的类别、级别和温度组别说明 |
|
电气设备分为二类:Ⅱ类—煤矿金用电气设备 |
|
|
| |
|
温度组别 |
允许较高表面温度℃ | |
T1 |
450 | |
T2 |
300 | |
T3 |
200 | |
T4 |
135 | |
T5 |
100 | |
T6 |
85 |
|
|
|
|
★防爆等级 |
|
隔爆热电阻的防爆等级按其适用于爆炸性气体混合物******安全间隙分为A、B、C三级。 |
|
|
|
★温度组别 |
|
隔爆热电阻的温度组别按其外露部分较高表面温度分为T1~T6六组。 |
|
|
|
★ 隔爆铂电阻的可燃气体、蒸汽级别、温度组别请参照隔爆热电偶举例表格。 |
测温元件选型说明/Selection of temperature measuring element---------------------◆◆ |
|
类别 |
标记 |
分度号 |
材质 |
测温范围℃ |
性能特点 | |
新 |
旧 |
优点 |
缺点 | |
热电偶 |
K |
N |
K |
镍铬-镍硅 |
-40~1200 |
热电势线性好,稳定性好,抗氧化性好,是使用较广泛的测温元件 |
不适用于还原气氛,受时效变化和短程有序结构变化影响 | |
N |
M |
N |
镍铬硅-镍硅 |
-40~1250 |
具备K型热电偶全部优点,短程有序结构变化影响小 |
不适用还原性气氛,受时效变化影响 | |
E |
E |
E |
镍铬-康铜 |
-40~900 |
在现有热电偶中,热电势率较高,灵敏度高,两级非磁性 |
不适用于还原性气氛,热导率低,具有微滞后现象 | |
J |
F |
J |
铁-康铜 |
-40~750 |
可用于还原性气氛,热电势较K高 |
铁易生锈,热电特性漂移大 | |
T |
C |
T |
铜-康铜 |
-40~350 |
可用于还原性气氛,热电势线性好,低温特性好。稳定性好 |
使用温度低,正极铜易氧化,热传导误差大 | |
S |
P |
S |
铂铑10-铂 |
0~1600 |
适用于氧化性气氛,在真空中可短时使用。精度高、稳定性好不受时效变化影响,抗氧化、耐化学腐蚀,可作标准热电偶 |
不适用于还原性气氛(尤其是H2、金属蒸气)和真空环境,价格高,灵敏度低,热电动势的线性不好 | |
B |
R |
B |
铂铑30-铂铑6 |
600~1700 |
适用于1000℃以上,热电势较小,可不用补偿导线,抗氧化耐化学腐蚀 |
不能用于600℃以下,灵敏度低,热电势的线性不好 |
|
产品选型/product selection-----------------------------------------------------------◆◆ |
 |
型号规格/type specification-----------------------------------------------------------◆◆ |
|
类别 |
型号 |
分度号 |
测量范围 ℃ |
保护管直径D |  | |
铂热电阻 |
WZPK-44 WZPK2-44 |
Pt100 |
-20~+500 |
Φ6 或 Φ5 |
|
适用介质/Applicable medium----------------------------------------------------------◆◆ |
|
★可燃性气体、蒸汽的防爆级别和温度组别: |
|
序 |
防爆等级ⅡA |
防爆等级ⅡB | |
介质名称 |
温度组别 |
介质名称 |
温度组别 | |
1 |
甲烷,乙烷,丙烷,动力苯 |
T1 |
丙炔 |
T1 | |
2 |
苯,甲苯,二甲苯,三甲苯 |
环丙烯 | |
3 |
苯酚,甲酚,双苪酮醇 |
氰化氢 | |
4 |
丙酮,二丁酮,二戊酮,二已酮 |
氢 | |
5 |
醋酸,醋酸甲脂,氯乙烷,溴乙烷 |
丙烯酯 | |
6 |
氯乙烯,二氯乙烯,三氯甲苯 |
焦炉煤气 | |
7 |
二氯甲烷,二氯丙烷,氯苯,氨 |
水煤气 | |
8 |
一氧化碳,苄基氯,二氯苯 |
乙烯 |
T2 | |
9 |
甲苯胺,三乙胺,吡啶 |
丁二烯 | |
10 |
乙晴,亚晴酸乙酯 |
一环氧丙烷 | |
11 |
苯乙烯,甲基苯乙烯,萘 |
一二恶烷 | |
12 |
丁烷,环戊烷,甲基环戊烷 |
T2 |
一三恶烷 | |
13 |
异丙苯,甲基,甲醇至丁醇 |
丙烯酸甲脂 | |
14 |
甲基丙烯酸甲脂,乙酰基醋酸乙酯 |
丙烯酸乙脂 | |
15 |
正丙胺,正丁胺,苯胺,NN二甲基苯胺 |
呋喃 | |
16 |
甲酸甲脂,甲酸乙酯 |
二甲醚 |
T3 | |
17 |
二氯乙烷,烯丙基氯,氯乙醇,噻吩 |
四氢糠醇 | |
18 |
甲胺,二甲胺,二乙胺 |
硫化氢 | |
19 |
乙酰丙酮,环乙醇,硝基甲烷,硝基乙烷 |
丙烯醛 | |
20 |
丙烯,乙苯,醋酸甲脂至醋酸戊脂 |
T3 |
丁烯醛 | |
21 |
甲基环已烷,松节油,石脑油 |
四氢呋喃 | |
22 |
戊烷至癸烷,环已烷,萘烷,环已胺 |
乙基甲基醚 |
T4 | |
23 |
乙基环已烷,乙基环丁烷,乙基环戊烷 |
二乙醚 | |
24 |
石油,汽油,柴油,煤油,煤焦油 |
二丁醚 | |
25 |
戊醇,已醇,环已醇,甲基环已醇 |
环氧乙烷 | |
26 |
氯丙烷,氯丁烷,溴丁烷 |
四氟乙烯 | |
27 |
乙酰氯,乙硫醇,四氢噻吩 |
二硫化碳 |
T5 | |
28 |
乙醛,三甲胺 |
T4 |
硝酸乙脂 |
T6 |
|
信号类型/Signal type------------------------------------------------------------------◆◆ |
|
根据传输距离、二次仪表需求,可以确定产品的信号输出类型 |
 |
安装方式/Installation requirements--------------------------------------------------◆◆ |

|
|
|